濰坊市環境科學研究設計院有限公司歡迎您!
“環評手續” 辦理流程圖(辦事指南)

附:建設項目環境影響評價工作程序圖
《建設項目環境影響評價技術導則 總綱》HJ2.1-2016代替HJ2.1-2011

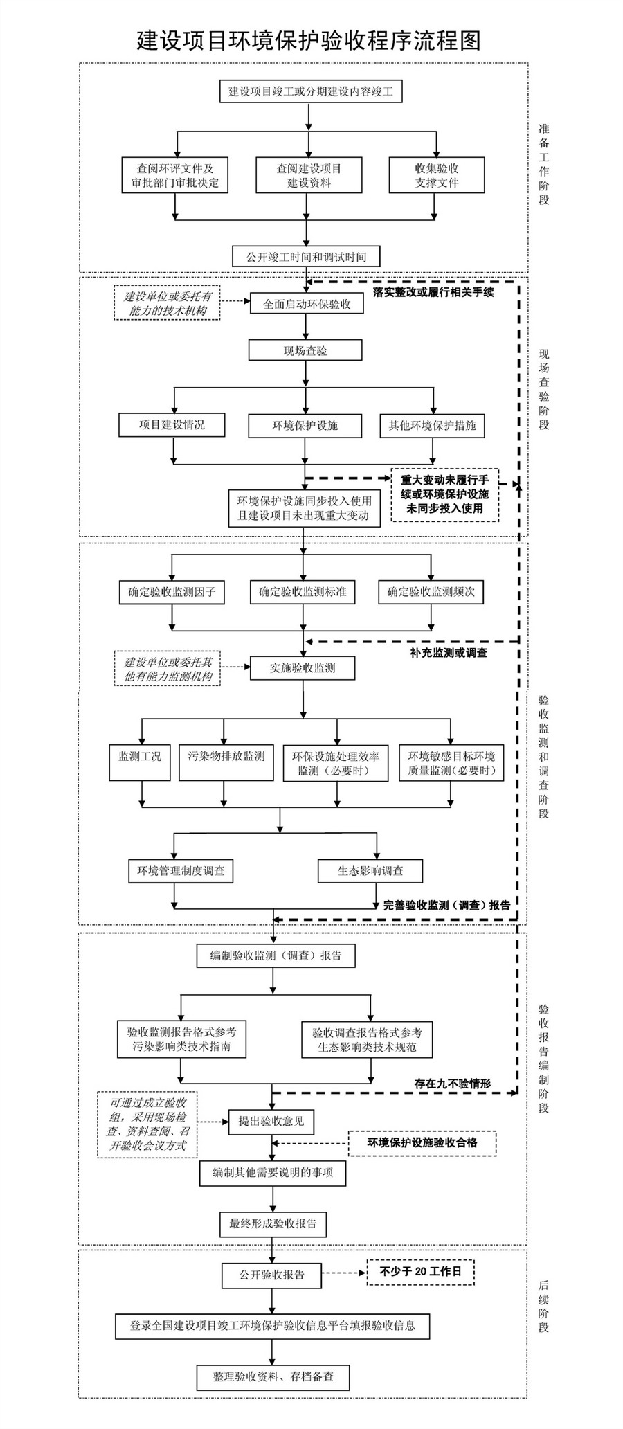
附:竣工環保驗收工作流程圖

注:上圖來源為北京市生態環境局網站:《建設單位開展自主環境保護驗收指南》http://sthjj.beijing.gov.cn/bjhrb/index/xxgk69/zfxxgk43/fdzdgknr2/qtwj30/10890818/index.html
【附件下載地址】: